Oxy-fuel Combustion Power Cycles: A Sustainable Way to Reduce Carbon Dioxide Emission

Anand Pavithran, Meeta Sharma* and Anoop Kumar Shukla

Amity University Uttar Pradesh, Noida, India

E-mail: contactmeeta@yahoo.com

*Corresponding Author

Received 16 April 2021; Accepted 06 June 2021; Publication 28 July 2021

Abstract

The energy generation from the fossil fuels results to emit a tremendous amount of carbon dioxide into the atmosphere. The rise in the atmospheric carbon dioxide level is the primary reason for global warming and other climate change problems for which energy generation from renewable sources is an alternative solution to overcome this problem. However, the renewables sources are not as reliable for the higher amount of energy production and cannot fulfil the world’s energy demand; fossil fuels will continue to be consumed heavily for the energy generation requirements in the immediate future. The only possible solution to overcome the greenhouse gas emission from the power plant is by capturing and storing the carbon dioxide within the power plants instead of emitting it into the atmosphere. The oxy-fuel combustion power cycle with a carbon capture and storage system is an effective way to minimize emissions from the energy sectors. The oxy-fuel power cycle can reduce 90–99% of carbon dioxide emissions from the atmosphere. Moreover, the oxy-fuel power cycles have several advantages over the conventional power plants, these include high efficiency, lesser plant footprint, much easier carbon-capturing processes, etc. Because of these advantages, the oxy-fuel combustion power cycles capture more attention. In the last decades, the number of studies has risen exponentially, leading to many experimental and demonstrational projects under development today. This paper reviews the works related to oxy-fuel combustion power generation technologies with carbon capture and storage system. The cycle concepts and the advancements in this technology have been briefly discussed in this paper.

Keywords: Oxy fuel combustion cycles, s-CO2 power cycle, zero emission power cycle, carbon capture and storage system.

Nomenclature

CCS Carbon Capture and Storage system
ASU Air separating unit
LNG Liquid natural gas
s-CO2 Supper critical carbon dioxide
HPT High pressure turbine
HTT High temperature turbine
HRSG Heat recovery steam generator

1 Introduction

Energy production by burning fossil fuels contributes to emitting an enormous quantity of greenhouse gases into the atmosphere and resulting in an increase in the atmospheric carbon dioxide (CO2) level. The rise in the amount of atmospheric carbon dioxide is the principal cause of global warming and climate change issues. According to the survey conducted by IEA (International Energy Agency), it’s observed that 33.1Gt of CO2 emission comes from the energy generation industry, in 2018 [1]. The energy production from renewable energy resources is a solution to reduce emissions in the energy production sector. In the past decades, energy generation from solar, wind, and tidal power has increased broadly, but the energy production from such renewable sources is inadequate to fulfill the entire world’s energy demand. So, the fossil fuel consumption for the energy production requirements will increase exponentially in the future [28].

To address global warming and other climate change problems, reducing the carbon emission from fossil fuel-powered plants is an urgent challenge for the energy generating sector. In order to minimize the emission, several methodologies are available. The principal methodologies include carbon capture and storage, improving the cycle efficiency with less utilization of fuel, and increase the energy production from renewable energy resources [2]. In accordance with the prediction study conducted by Lazarou et al. [54], these methodologies anticipated a significant reduction in carbon dioxide emission in forthcoming eras. Among these methodologies, the carbon capture and storage technique show the most favorable outcomes [2].

Carbon capture and storage (CCS) technology reduces the emission from the power generating sector by capturing and storing the CO2 instead of emitting it into the atmosphere. The CCS technologies are categorized into three variants: Pre combustion CCS, Post-combustion CCS, and oxy-fuel combustion technology [3], this classification is shown in Figure 1. In pre-combustion CCS, the fuel is first gasified from the gasifier then, the carbon content is removed from the generated gases before fed to the combustor. In post-combustion CCS, the carbon capturing and processing unit is put following the combustor and catch the carbon material in the combustion byproducts before emitting it to the atmosphere, chemical compounds containing amine or ammonia are used as a scrubbing agent for the CO2 shooting process [4]. In the case of oxy-fuel combustion CCS technology, the fuel burnt in presence of pure oxygen and make a flue gas comprises carbon dioxide and oxygen, subsequently, the carbon dioxide is extracted from the flue gas and transferred into a storage system [14]. The carbon-capturing rate by CCS technologies is expected to be increased in the coming years [55].

images

Figure 1 Types of carbon capture technologies.

Pre combustion and post-combustion carbon capture technologies consume a tremendous quantity of energy for the CO2 separation and capture processes. The studies indicate that these two technologies reduce 8–12% plant efficiency [5]. The problems associated with pre-combustion CCS and post-combustion CCS can be overcome by oxy-fuel combustion technology. In this technology, fuel combustion occurs in an almost pure oxygen environment, i.e., pure oxygen acts as the oxidizing agent instead of air for the combustion process. The oxy-combustion is the key to achieve zero-emission, the oxy-fuel combustion results in producing a flue gas that majorly contains carbon dioxide and water vapor, these two produced substances are easily separatable in nature at lower temperatures pressures, not much energy is required for this separation processes. The water and CO2 separation can be done by integrating a flue gas cooler and a water separating device with the system [4]. The oxy-fuel combustion system has several advantages over the conventional power cycles, this kind of cycle possesses higher energy efficiency with carbon capture and storage facility, efficient fuel burning and high flame temperature, reduced NOx emission, and compact power plant design [6].

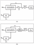
In oxy-combustion technology, the conventional air combustion mode of fuel-burning is changed to pure oxygen mode and this contributes, efficient burning of fuel, the higher flame temperature and create flue gas majorly contains carbon dioxide and water vapor. The flame temperature of the produced gas is reduced by mixing the recirculated stream of flue gas, which also turns the produced flue gas into the recirculated stream-rich working fluid. On the basis of the working fluid, the oxy-fuel power cycles are categorized into two types, the supercritical carbon dioxide-based (s-CO2) power cycle and supercritical water-based (s-H2O) power cycle [50]. In supercritical carbon dioxide-based systems the flue gas entering the turbine contains more than 90% carbon dioxide at the supercritical state and less than 10% water vapor, this carbon dioxide-rich flue gas is produced by mixing the stream of recirculated carbon dioxide with the flue gas produced by the oxy-fuel combustion process. Subsequent to the turbine expansion, the water content present in the carbon dioxide-rich stream has fully been removed from the system by the water separation process. Then remaining carbon dioxide stream is recirculated within the system after removing the excess carbon dioxide to the storage unit [10]. In the case of supercritical water-based systems at the flue gas expand thorough the turbine is supercritical water-rich flue gas. The main difference as compared to the supercritical carbon dioxide cycle is, in this cycle after separating the water and carbon dioxide the water is recirculated within the system and all the carbon dioxide is removed to the storage system [15]. Conceptual diagrams for the supercritical carbon dioxide-based power cycle and supercritical water-based power cycle are shown in Figure 2.

images

Figure 2 Oxy-fuel power cycles. (a) Supercritical carbon dioxide-based cycle. (b) Supercritical water-based cycle.

This work focusing on the oxy-combustion carbon capture and storage technique used in the energy sector. In this phase of the rise in atmospheric carbon dioxide level and the continued reliance on fossil fuels for energy generation, the carbon capture and storage technology could be taken as a solution to control the emission from the power generating sector. This work reviewed different oxy-fuel power cycles their configurations, components, process involved, and the advancements done. A comparative study is done for the oxyfuel power cycles which includes the performance parameters. The use of s-CO2 in power cycles comprising different sources such as waste heat and solar energy are discussed by Sajwan et al. [56] and Kandelwal et al. [57].

2 Components of Oxy-fuel Power Cycle

The power cycle with the oxy-fuel combustion technology requires some additional components than a conventional power plant system. The additional components are: Air separating unit (ASU), Oxy-fuel combustor, power generation system, CO2 and water separator, and the CO2 capturing and storage system.

2.1 Air Separating Unit

The Air Separating Unit (ASU) separates oxygen and nitrogen from the air and supply almost pure oxygen to the combustion chamber. Oxy-fuel combustion technology usually adopts a cryogenic type of ASU. The cryogenic type ASU intakes fresh air from the atmosphere. The dust and other impurities present in the air are removed by the air filtration process, and the air cools down to a cryogenic temperature. Further, by the selective distillation process, oxygen and nitrogen separate from the air. The oxygen purity by this process is almost 99.5%, but the air separation process consumes a large amount of power and significantly affects the net efficiency of the power cycle.

2.2 Oxy-fuel Combustor

The oxy-fuel combustor is the central unit of the emission-free power cycles. The oxy-fuel combustor has three inputs: the fuel storage unit, oxygen from the ASU, and the recirculated stream of carbon dioxide or steam with regard to the cycle type. Pure oxygen fed by the ASU is acting as the oxidizing agent for the combustion process, this oxy-fuel combustion also increases the combustion efficiency. The oxy-combustion process generates flue gas, which comprises CO2 and water vapor with the negligible existence of other gases, and this is the major key to achieving zero-emission, since the CO2 and water could be separated easily without any much energy requirements. The separated CO2 is transferred to a storage unit. The recirculated stream inputs into the combustor and acts as the temperature moderator for the combustion process. In oxy-fuel power cycles, the recirculated stream is either CO2 or H2O. This adiabatic mixing of the recirculated stream with the flue gases leads to form a recirculated stream-rich flue gas.

2.3 The Power Generation System

The power generation system consists of one or more turbines concerning the power cycle capacity. The turbine inlet temperature of oxy-combustion power cycles is much higher than the blade acceptable temperature; hence, the turbine cooling model is essential for the system to withstand high operating temperature. The type of turbine selection is based on the working fluid; usually, steam turbine or gas turbine models are used for the oxyfuel power cycle.

2.4 CO2 and Water Separator

As discussed earlier, oxy-fuel combustion results in the formation of flue gas contain carbon dioxide and water vapor. The water content from the flue gas needed to be separated before the carbon capture process. The water content can be separated from the flue gas by cooling and water condensation methods, further the water content is removed from the system by using water separating device. This process results in almost pure carbon dioxide at the end of the water separator. If the flue gas presents nitrogen oxides (NOx) or sulfur oxides (SOx), some NOx and SOx removal technologies like de-NOx and de-SOx are needed to be integrated with systems.

2.5 CO2 Capturing and STORAGE System

After separating the CO2, water content, and other impurities from the turbine exhaust gas, the CO2 is compressed to above the critical point and further fully or partially capture and transferred to the storage unit rather than of emitting it to the atmosphere.

3 Classification of Oxy Fuel Combustion Power Cycle

Improving energy efficiency and reducing the emission from the power plant are the main goals of the power production industry. The direct-fired oxy-fuel combustion power cycles have drawn much attention because of their inherent higher efficiency and almost zero-emission capability [6]. These kinds of cycles achieve zero-emission by capture and store CO2 instead of emitting it into the atmosphere [7].

Based on working fluid these power cycles can be categorized into two variants: i.e., supercritical carbon dioxide-based power cycles and supercritical water-based power cycles. As discussed in the introduction section the oxy-combustion results to form a flue gas contains carbon dioxide and water, in the supercritical carbon dioxide cycles the water content present in the flue gas is fully removed from the system, and the remaining carbon dioxide stream is recirculated within the system after capture excess carbon dioxide and form a carbon dioxide-rich flue gas as working fluid. In the case of the supercritical water-based systems, the carbon dioxide present in the flue gas is fully removed from the system to a storage unit and the remaining water stream recirculate within the system and forms a water-rich mixture of flue gas as working fluid [50]. The well-established oxy-fuel power cycles like Graz Cycle [8] and the CES Cycle [9] are utilizes water-rich flue gas as the working fluid while the Allam Cycle [10], MATIANT Cycle [11], and Semi-Closed Oxy Combustion Combined Cycle (SCOC-CC) [12] utilize CO2 rich flue gas as the working fluid.

3.1 Water-rich Mixture as Working Fluid

When water-rich flue gas is used as the working fluid, the combustion products are mixed with the recirculated steam stream and expand in a turbine. Further, the CO2 content is entirely removed from the working fluid by employing a water condenser and gas separator then the CO2 is fully transferred to the CO2 storage unit.

Graz cycle

The first version of fossil fuel (Natural gas) based Graz Cycle with a carbon capture facility was proposed by Jericha et al. in 1995 [14]. The cycle utilizes a mixture of steam and CO2 as working fluids (77% of H2O and 23% CO2). Figure 3 shows a basic process diagram of the Graz Cycle. The cycle consists of supercritical steam cycles and a low-temperature Rankine Cycle. The fossil fuel and the oxygen are fed to the combustor for the oxy-fuel combustion. Further, the flue gas produced by the combustion process is mixed with the recirculated H2O (steam) stream and formed a water-rich flue gas. This flue gas first expanded in the high-temperature turbine and then the exhaust from the turbine passed through a heat recovery steam generator (HRSG), the heat available with the exhaust stream is utilized in HRSG to vaporize the water. Further, the flue gas stream split into two, the minor stream contains around 45% of flue gas recirculate directly to the oxy combustor after the compression process and the remaining major steam is further expanded in the low-pressure turbine unit (LPT). The exhaust stream of LPT undergoes a cooling and water condensation process and then separates the water and carbon dioxide. The separated carbon dioxide is completely removed from the power cycle to the carbon capture and storage unit. The remaining water is then passed through a de-aeration unit and to the HRSG. The generated steam in the HRSG is expanded in the high-pressure turbine (HPT) and the exhaust is used as the temperature moderator in the oxy combustor [8]. Over the years, the basic version of the Graz cycle has been modified. In 2005 Sanz et al. proposed a modified Graz cycle called the S-Graze cycle and obtained a cycle efficiency of 52.7%, and after improving the heat transfer performance this cycle observed 53.4% net efficiency [15]. Jericha et al. improved the cycle by altering the working parameters like pressure ratio, mass flow rate, and turbine inlet temperature, etc., these modifications result to obtain 54.14% net efficiency [16].

images

Figure 3 Basic Graz Cycle power plant [8].

CES cycle

The CES cycle is proposed by the clean energy system (CES) California, this power cycle is defined as an internal combustion steam power generation cycle [17]. A conceptual diagram of the CES cycle is shown in the Figure 4. In CES technology, the oxy-fuel combustion system is adopted from the rocket engines which empowers the American space shuttles. In this cycle, a wide variety of fuels such as natural gas, syngas, produced gas, landfill gas, refinery residues, and biogas, etc., can be taken for the combustion process. The CES power cycle utilizes platelet technology introduced by Aerojet, an American missile propulsion manufacturer, to mix oxygen and fuel to ensure the controlled combustion and results to produce a homogeneous flame front [51]. The water-rich flue gas produced in the oxy combustor process is expanded in a high-pressure turbine (HPT) then heat is added again to the stream by using a secondary oxy combustor and further expanded in an intermediate pressure turbine (IPT). The heat energy available with the exhaust from the IPT is used to preheat the recirculated stream and also to generate steam in the HRSG. The generated steam in the HRSG system is expanded in a low-pressure turbine. The flue gas leaving the HRSG is undergoing a condensation process to separate water and CO2 from the flue gas. The water is recirculated within the system, and the CO2 is removed into a storage system. The researchers proposed different improved versions of CES plants. The version proposed by Hustard et al. [17] shows higher efficiency. The estimated net efficiency of the cycle is 45%.

images

Figure 4 Conceptual diagram of CES plant [18].

3.2 Carbon Dioxide-rich Mixture as Working Fluid

In this category of oxy-fuel combustion power cycles, the flue gas formed during the oxy-combustion process is mixed with recirculated carbon dioxide stream and forms a CO2-rich flue gas as the working fluid. The working fluid expands in a gas turbine and produces the work as output for the power cycle. After the turbine work, the working stream is passed through a water separator and removes all the water content from the flue. A series of compressors and pumps pressurize the pure CO2 stream obtained at the end of the water separator, then a portion of the CO2 stream is recirculated within the system after transferring excess CO2 to the carbon capture and storage unit.

MATIANT cycle

In short, the MATIANT cycle is a combination of reheated supercritical-CO2 cycle and regenerative CO2 cycle. The cycle consists of two oxy combustors and three gas turbines arrangement. The cycle achieves zero emission by capturing and storing all the generated CO2 within the system. The study conducted by Iantovski et al. mentioned that while using hybrid fuels, cycle efficiency is above 50% for the MATIANT cycle [22]. The sensitivity analysis done by Mathieu et al. [23] observed a maximum efficiency of around 45% for the natural gas-fired system. Zhao et al. [24] proposed a modified MATIANT cycle by eliminating the reheating process and by adding recompression and stream split; the study obtained almost similar energy efficiency for the modified one, and the value is only 0.35% lower than the base cycle. Saeidi et al. [25] proposed a new variant of the MATIANT cycle, this cycle is a combination of coal-based MATIANT cycle, and biomass gasifier integrated Brayton cycle and Organic Rankine cycle and the study results observed a maximum efficiency of 52.06% and an energy efficiency of 47.02% at optimized conditions.

images

Figure 5 Allam cycle (Natural gas-fired system) [29].

Allam cycle

Allam cycle shows the best first law efficiency among oxy-fuel power generating system, this cycle also called as NET power cycle. The cycle is a highly regenerative trans-critical CO2 power cycle, and the power cycle can enable it to work with various fuels such as natural gas, coal, biomass, and oil refining residuals, etc. The cycle has nearly 100% of carbon-capturing capability and also holds higher energy efficiency; moreover, the electricity production cost is less as compared with conventional power cycles [26]. Allam et al. patented the power cycle in 2013 [27]. The studies estimated energy efficiency of 59% for the natural gas-fired single combustor system (without reheat) and 57.5% for double combustor system (with reheat). For coal syngas fuelled Allam cycle estimated energy efficiency of 51.44% for lower heat value (LHV) [28]. The schematic diagram for the natural gas-fired Allam cycle is shown in Figure 5. The entire power generating system consists of an air separating unit (ASU), oxyfuel combustor, turbine, heat exchanger, water separator, and compressor unit. The burning process of fuel takes place in an oxy-fuel combustor; the pure O2 which coming from the ASU is acting as an oxidation agent for fuel combustion. The oxy-combustion by-products and the recirculated CO2 are mixed within the combustor and form a CO2-rich flue gas at the end of the combustor; the recirculated stream also acts as temperature moderator for the burning process. The CO2-rich flue gas is then expanded in the turbine unit afterward the exhaust stream is cool down in the recuperator and gas cooler and then separates the water and CO2 from the flue gas. The almost pure CO2 stream after available at the end of the water separator is pressurized to above the critical value of carbon dioxide ie. above 301K and 74bar by using series of compressors and pumps. Then the excess CO2 is removed from the system to a CO2 storage facility and the remaining stream is recirculated within the cycle [29]. NET Power, an American-based company, has constructed an Allam cycle demonstration plant with an energy capacity of 50MWt in La Porte, Texas. The plant has several advantages over the conventional power plant, which include zero-emission, low electricity production cost, less land footprint, higher efficiency, easy separation of water content, etc. [33].

The cost analysis was done by Ferrari et al. [30] estimated as 83.6 € per MWh production of electricity for the Allam cycle; this price was the lowest among the oxy-fuel power cycles. Saccabarozzi et al. [31] conducted a thermodynamic optimization study on the natural gas-fired Allam cycle and observed a maximum efficiency of 54.6% at the optimized condition, and the carbon capture rate is 100%. Zhu et al. [32] proposed a modified variant of the Allam cycle called the Allam-Z cycle, the modification includes: alteration in state point temperature and pressure, a pump unit is used to pressurize the stream instead of compressors after the supercritical state of carbon dioxide, a set of recuperators are arranged to improve exhaust gas heat recovery, and the cold energy available with the liquid natural gas (LNG) and oxygen from the cryogenic oxygen separator is used for cooling the working fluid. As a result of these modifications, this study observed 2.96% improvement in energy efficiency.

Semi closed oxy-combustion combined cycle (SCOC-CC)

As compared with the conventional combined power cycles, the configuration of SCOC-CC is much similar and this system consists of a steam cycle at the bottom of the semi-closed supercritical carbon dioxide cycle. The heat available with the turbine exhaust stream of the sCO2 cycle is input to the steam generator of the bottoming cycle [38]. The study conducted by Yang et al. [45] on SCOC-CC by using coal as the fuel source and the study reviled that the overall first law efficiency of the proposed cycle is comparatively less than that of the IGCC system. It might be because of the energy consumption by the cryogenic oxygen separator. However, the CO2 capturing capacity of the SCOC-CC cycle is exceptionally high (over 99%) [19]. A process diagram of an SCOC-CC power plant is shown in Figure 6.

images

Figure 6 Schematic process diagram of the SCOC-CC system.

Chiesa et al. [19] also conducted a similar kind of study on the SCOC-CC power cycle using coal as fuel and observed a net efficiency of around 39% for SCOC-CC, which is less than an IGCC system working on similar conditions even though the carbon dioxide emission from the SCOC-CC system is almost zero. Xiang et al. [34] investigated different bottom cycle arrangements for the SCOC-CC; the results indicate integration of triple pressure reheat cycle as the bottoming cycle shows better cycle performances. Riethmann et al. [21] have been modified an NGCC system into a natural gas-fired SCOC-CC system and this cycle is integrated with a triple pressure heat recovery steam generator. The study results showed that the efficiency achieved by the SCOC-CC system is 8.3% points lower than the NGCC system, the cycle observed 48.3% net efficiency with almost 100% carbon-capturing rate.

Coal as the Source of Energy

Coal plays a vital role in the energy-generating sector. As per the survey of IEA [35], over one-third of the global electrical energy is produced by consuming coal. The burning of coal results in the emission of many harmful gases into the atmosphere, leading to air pollution, the greenhouse effect, and ocean acidification. Hence, the coal-based power generation emissions should be controlled; for that, the oxy-fuel combustion emission control strategy could be taken to solve this problem [50]. In the coal-based oxy-fuel power plant, the coal in itself not be used for the oxy-combustion process, some liquid or gaseous fuels are needed for the oxy-combustion. Therefore, a coal gasifier unit should be integrated with the system to produce syngas from the coal [40]. Many researchers have been conducted studies on coal-based oxy-fuel power plants [36–43]. The gasification of coal is the key technology required for the coal-based oxy-combustion systems while using coal as fuel. In the gasification process, the coal reacts with oxygen and steam produces the synthesis gas (syngas) by the partial oxidation method. The produced syngas may contain a high amount of nitrogen oxides, sulphur compounds, and traces of metals such as mercury, lead, etc. so, the syngas should clean before fed to the combustor unit [50]. If syngas used directly without the cleaning process for the combustion process, instead of syngas cleaning flue gas cleaning methods like deNOx and deSOx must be included to remove the nitrogen and sulphur content [36].

The coal-based oxy-fuel power cycles usually work on the s-CO2 Brayton cycle [41]. Hong et al. [36] modelled a pressurized coal oxy-combustion power cycle. This research work determined that the performance of pressurized oxy-fuel combustion is much better than an atmospheric air-fired system and the proposed work obtained an efficiency of around 46% (HHV) and 48% (LHV). While considering the energy consumption by the cryogenic air separating unit, the cycle efficiency reduced to 33.5% (HHV) or 34.9% (LHV), but these efficiencies are also higher than the conventional systems.

The coal-powered version of the Allam cycle observed a thermal efficiency of 51.44% for low heat value (LHV) [28]. Lu et al. [37] conducted a study on the coal variant of the Allam cycle by integrating commercially available coal gasifiers and analyzed the performance as compared with the IGCC power cycle. The work summarised that the efficiency of the proposed coal version of the Allam cycle with carbon capture capability is higher than an IGCC power cycle without a carbon capture facility, and the study also observed that the efficiency of the cycle depends on feedstock selection, gasifier type, and composition of syngas [37].

Weiland et al. [7] proposed a cycle configuration for the coal-based sCO2 power plant. The cycle consists of a high-pressure oxy combustor at 300 bar, a turbine with a pressure ratio of 10, recuperators and heat exchangers, CO2 capture and storage unit, and a CO2 recirculating loop. This research work concluded that: as compared to the IGCC having almost similar net output and carbon capture capability, the net efficiency for the oxy-fuel cycle observed 6% higher and generates 13% more energy than an IGCC system. The researcher also performed the sensitivity analysis for cycle variables, and it has been observed that inter-cooling is a fruitful option for improving plant efficiency [7]. Weiland et al. [39] recently published a study work for the coal gasification integrated sCO2 power plant. In this work, the cycle is modified by an improved heat transfer mechanism and also by integrating a turbine cooling model. The modifications result in an increment in the net efficiency of the power cycle, the observed efficiencies are 42.1% and 40.6% for LHV and HHV respectively.

Zhao et al. [40] had conducted a parametric study on coal gasifier coupled supercritical CO2 power cycle in 2018. For the parametric study turbine inlet temperature and pressure and the turbine outlet pressure are considered as the variables for the study. The results obtained by this work concluded that the temperature at the inlet of the turbine and the expansion pressure or the outlet pressure of the turbine are significantly influencing the systems net efficiency, while the effect of the inlet pressure of the turbine is minor and the proposed cycle observed 38.88% net efficiency when turbine inlet temperature at 1200C [40]. Zhao et al. also conducted an optimization study on an improved heat integration model. A two-stage optimization method was adopted for the study; first optimized the boundary conditions and then optimized the heat integration processes. This study calculated net efficiency of 39.5% for the primary cycle and 40.9% for the cycle with a heat integration system. Further, the researcher optimized the turbine working conditions and improved the net efficiency of the cycle to 41.41%.

Zhu et al. [42] proposed a novel coal-based power cycle termed Allam-ZC in 2019. A supercritical water coal gasifier is integrated with the system in this cycle, and a simulation study was conducted. This cycle has several modifications over the coal-based Allam cycle. (1) the supercritical steam is used for the coal gasification and the steam generated by absorbing the heat from the power cycle itself, (2) The back pressure of the turbine set at saturated value, and this modification resulted in eliminating all the compressors and only the pumps were used to pressurize the fluid, (3) The turbine exhaust gas was first passed through the gasifier unit before the heat release in the recuperator i.e., in this modification the heat available with the exhaust gas is first used for coal gasification process and then for the recuperation. The analysis conducted on this modified cycle shows better thermodynamic results and observed net efficiency of 47.3% with 100% CO2 capturing rate.

Xu et al. modelled a solar hybrid version of the coal-based oxy-fuel power cycle. The concentrated solar energy is used for the coal gasification process. The results obtained for this study showed a 2.9% reduction in coal consumption while using the solar energy for the gasification process and the system possesses net efficiency of 43.4% and exergy efficiency of 44.6% without any carbon dioxide emission from the power plant [43].

4 Comparison Studies on Oxy-fuel Power Cycles

Ferrari et al. [46] had conducted a comparison study on oxy-fuel power cycles. Five promising oxy-fuel combustion power cycles such as: MATIANT cycle, CES cycle, Graz cycle, SCOC-CC, and NET power cycle (Allam cycle) are taken into account and all the cycles are compared against a reference NGCC cycle. The comparison results obtained from the technical and economic assessments show that the NET power cycle has higher efficiency as compared to all other power cycles. The specific total plant cost for the oxy-fuel combustion power cycle is around 1,300 to 1,550 €/kWe, which is 2–2.5 times greater than that standard NGCC power plant. Among these cycles, the capital cost, the specific total plant cost, and the CO2 avoidance cost required for the NET power cycle are comparatively less, and the costs are 1715 €/kW, 1320 €/kW, 68 €/ton, respectively. Therefore, the comparison study concluded; the NET power cycle shows better technical and economic performances.

Wimmer et al. [47] compared the NET power cycle (Allam cycle) and Graz cycle at similar working conditions. The results obtained by this study indicate that the net efficiency of the Graz cycle is slightly higher than the efficiency of the NET power cycle, the obtained values are 53.5% and 52.7%, respectively. While considering the turbine cooling model for the NET power cycle, the net efficiency decreased to 52.06%. However, structural cycle configurations, designing of power plant components, and the operations associated with the NET power cycle is comparatively simpler than the Graz cycle.

5 Major Challenges in Oxy-fuel Combustion Power Cycles

Following are the major concerns to be addressed in oxy-fuelled combustion power cycles

ASU energy consumption

As we discussed in earlier sections the oxy-combustion of fuel is the core process in the emission-free power generation technology. To assure effective oxy-combustion, pure oxygen supply is very essential, the pure oxygen is provided to the combustor by the air separating unit integrate with the system. Usually, the air separating units are separate the oxygen from air by the cryogenic distillation method, this method will guarantee almost pure (99.9% purity) oxygen supply to the combustor unit. However, the air separation unit consumes a huge amount of energy to maintain the cryogenic temperature required for the air distillation process, and which leads to a significant reduction in the net efficiency of the oxy-fuel combustion power cycle [48]. Since the minimization of the energy penalty by the ASU unit is a challenging problem.

Turbine design

The working fluid of oxy-fuel combustion cycles is a mixture of carbon dioxide and water. Concerning the cycle type, there might be a change in the composition of the working fluid, the working fluid may carbon dioxide-rich mixture or water-rich mixture. The turbine selection and design factors are hardly depending on the properties of the working fluid. The composition and properties of the working fluid should be pre-calculated before the turbine design phase.

The working parameters like pressure ratio, working temperature range, mass flow rate, fuel type, etc. might influence on the turbomachinery modeling. Usually, the turbine inlet temperature of oxy-fuel power cycles usually kept at higher values to maximize the power cycle performance and which may higher than the turbine blades acceptable temperature range, Therefore, some turbine blade cooling models must be included during the turbine designing phase to maintain the blade temperature within the acceptable range [49]. So, the designing of turbo machineries without much energy penalty is a challenge for the power cycle.

Costs required for the oxy-fuel power plant

As per the study by Ferrari et al., the costs associated with the oxy-combustion power cycles are much higher when compared to the NGCC power cycle. The total capital cost associated with the oxy-combustion system is 2–2.5 times greater than a conventional system. The increment in the capital cost might be because of the costs required for additional components such as air separation unit, specially designed turbine, carbon capture, and storage unit, water separator, recuperator, etc. Thus, minimization of the capital cost is a challenge for the oxy-combustion power cycles. The electricity production cost per MWh is also high for the oxy-fuel combustion cycles. The high energy penalty by ASU and additional costs required for the CO2 avoidance significantly affect the electricity production cost. The technological improvement in these industrial competences can bring a reduction in energy production costs [50].

Table 1 Comparison between oxy-fuel combustion power cycles

Cycle Working Net
No. Author Cycle Name Fuel Used Fluid Efficiency References
1 Sanz et al. S Graze Natural gas H2O 52.7% [15]
2 H. Jericha et al Graze Natural gas H2O 54.14% [16]
3 Hustard et al. CES Natural gas H2O 45% [17]
4 Chiesa et.al SCOC Natural gas CO2 39% [19]
5 Lozza et al SCOC Natural gas CO2 46.17% [20]
6 Riethmann et al SCOC Natural gas CO2 48.17% [21]
7 Iantovski et al. and Mathieu et al. MATIANT cycle Natural gas CO2 45% [23]
8 Saeidi et al. MATIANT cycle Biomass CO2 52.06% [25]
9 Allam et al. Allam cycle Natural gas CO2 59% [26]
10 Allam et al. Allam cycle Coal syngas CO2 51.44% [28]
11 Saccabarozzi et al. Allam cycle Natural gas CO2 54.6% [31]
12 Zhu et al. Allam-Z cycle Natural gas CO2 50.87% [32]
13 Xiang et al. NGCC integrated with oxy fuel combustion cycle Natural gas CO2 55.3% [34]
14 Hong et al. oxy-fuel combustion power cycle Coal syngas CO2 34.9% [36]
15 Weiland et al. Direct fired sco2 Coal syngas CO2 37.7% [7]
16 Weiland et al. Direct fired sco2 Coal syngas CO2 42.1% [39]
17 Zhao et al. Direct fired sco2 Coal syngas CO2 38.87% [40]
18 Zhao et al. Direct fired sco2 Coal syngas CO2 41.41% [41]
19 Zhu et al. Allam-ZC Coal syngas CO2 47.3% [42]
20 Xu et al. Solar hybrid coal based direct-fired s-CO2 cycle Coal syngas CO2 43.4% [43]

6 Observations and Discussion

A study on the power cycle with oxy-fuel combustion carbon capture and storage facility has been conducted. The observations found out in this review work are discussed in this section.

images

Figure 7 Comparison of net thermal efficiencies (correspondence of cycle number in Table: 1).

Through the literature survey, it has been observed that it is possible to eliminate all the carbon dioxide emissions from the power plant by incorporating the oxy-fuel combustion carbon capture technology in the power generating sector. This technology also possesses higher energy and exergy efficiencies as compared with the conventional power cycles without having the carbon capture and storage facility. A summary of the literature survey is shown in Table 1. As per the observations, this technology requires gaseous or liquid state fuels for effective oxy-combustion and carbon capture procedures. Solid fuels such as coal or biomass are itself not be used directly for the oxy-combustion process; they should convert to respective syngas by gasification techniques before fed to the oxy combustor.

Based on the literature survey, an efficiency comparison of oxy-fuel combustion power cycles is graphically represented in the Figure 7. By analyzing this graphical data, it is noted that the net efficiency of all the oxy-fuel power cycles is greater than 30%. As compared with the fuel used in the system, the natural gas-fired oxy-fuel power cycles show better thermodynamic first law efficiency than coal or biomass syngas powered cycles. Among all the oxy-fuel power cycles, the natural gas-fired power cycle proposed by Allam et al. [26] (cycle no: 9) shows heights energy efficiency.

As compared with the system performances the oxy-fuel combustion power cycle shows better thermodynamic results than conventional power cycles having similar working conditions [47]. But the cost analysis conducted study works [39, 46], and [50] concluded that as compared with a conventional power cycle the capital cost, total plant cost, and specific electricity production cost of oxy-fuel power cycle is much higher. The levitation in these costs is because of the additional components and processes involved in the oxy-combustion and carbon capturing and storing processes.

7 Conclusion

A review based on the oxy-fuel power cycles with carbon capture and storage technology has been conducted. The main conclusions made by this study work are as follows:

• The oxy-fuel combustion power cycle with carbon capture and storage system is a promising technology to reduce the carbon dioxide emission from the power plant. Most oxy-fuel combustion cycles reduce 90 to 99.99 % of the carbon dioxide emission from the power plant.

• The oxy-fuel power cycles possess higher energy efficiencies, all the cycles have more than 30% energy efficiency. The natural gas-fired versions of oxy-fuel power cycles show higher efficiency than coal-fired systems. Among the oxy-fuel power cycles, the highest efficiency is observed for the natural gas-fired Allam cycle, the observed efficiency is 59%.

• Different types of fuels such as natural gas, coal, liquid fossil fuels, and biomass can be used for the oxy-fuel combustion process. While selecting solid fuels such as coal or biomass, a gasification unit must be integrated with the system. The working or demonstrational model of coal or biomass fired systems are not yet been developed, these versions are only described in the literary works.

• The challenges associated with the oxy-fuel power cycles include: higher energy penalty by the ASU, the turbomachinery designing and modeling processes, and the higher costs associated with the oxy-combustion and carbon capture processes. A small advancement in these challenges will significantly improve the cycle performance.

References

[1] https://www.iea.org/articles/global-co2-emissions-in-2019

[2] Leung, D.Y., Caramanna, G. and Maroto-Valer, M.M., 2014. An overview of current status of carbon dioxide capture and storage technologies. Renewable and Sustainable Energy Reviews, 39, pp. 426–443.

[3] Omoregbe, O., Mustapha, A.N., Steinberger-Wilckens, R., El-Kharouf, A. and Onyeaka, H., 2020. Carbon capture technologies for climate change mitigation: A bibliometric analysis of the scientific discourse during 1998–2018. Energy Reports, 6, pp. 1200–1212.

[4] Vasudevan, S., Farooq, S., Karimi, I.A., Saeys, M., Quah, M.C. and Agrawal, R., 2016. Energy penalty estimates for CO2 capture: Comparison between fuel types and capture-combustion modes. Energy, 103, pp. 709–714.

[5] Goanta, A., Bohn, J.P., Blume, M., Li, X. and Spliethoff, H., 2011, January. Numerical Characterization of a Novel Staged Combustion Concept Applied to Oxy-Fuel Carbon Capture Technology. In ASME International Mechanical Engineering Congress and Exposition (Vol. 54907, pp. 1619–1630).

[6] Dillon, D.J., White, V. and Allam, R.J., 2005. Technology & Engineering. “Oxy combustion processes for CO2 capture from power plant.” IEA Greenhouse Gas R&D programme, 2005.

[7] Weiland, N., Shelton, W., White, C. and Gray, D., 2016. Performance Baseline for Direct-Fired sCO2 Cycles-Presentation (No. NETL-PUB-20407). NETL.

[8] Jericha, H., Sanz, W. and Göttlich, E., 2006, January. Design concept for large output graz cycle gas turbines. In Turbo Expo: Power for Land, Sea, and Air (Vol. 42398, pp. 1–14).

[9] Bannister, R.L., Newby, R.A. and Yang, W.C., 1999. Final report on the development of a hydrogen-fueled combustion turbine cycle for power generation.

[10] Allam, R.J., White, V., Ivens, N. and Simmonds, M., 2016. The oxyfuel baseline: revamping heaters and boilers to oxyfiring by cryogenic air separation and flue gas recycle. Carbon Dioxide Capture for Storage in Deep Geologic Formations–Results from the CO2 Capture Project Capture and Separation of Carbon Dioxide from Combustion Sources, 1, pp. 451–475.

[11] Iantovski, E. and Mathieu, P., 1997. Highly efficient zero emission CO2-based power plant. Energy conversion and management, 38, pp. S141–S146.

[12] Bolland, O. and Mathieu, P., 1998. Comparison of two CO2 removal options in combined cycle power plants. Energy Conversion and Management, 39(16–18), pp. 1653–1663.

[13] Jericha, H., 1987. Efficient steam cycles with internal combustion of hydrogen and stoichiometric oxygen for turbines and piston engines. International journal of hydrogen energy, 12(5), pp. 345–354.

[14] Jericha, H.E.R.B.E.R.T. and Fesharaki, M., 1995. The Graz cycle–1500C max temperature potential H2-O2 fired CO2 capture with CH4-O2 firing. Power, 10433(11502), p. 2495.

[15] Sanz, W., Jericha, H., Luckel, F., Göttlich, E. and Heitmeir, F., 2005, January. A further step towards a Graz cycle power plant for CO2 capture. In Turbo Expo: Power for Land, Sea, and Air (Vol. 47284, pp. 181–190).

[16] Jericha, H., Sanz, W., Göttlich, E. and Neumayer, F., 2008, January. Design details of a 600 MW graz cycle thermal power plant for CO2 capture. In Turbo Expo: Power for Land, Sea, and Air (Vol. 43123, pp. 507–516).

[17] Hustad, C.W., Trondstad, I., Anderson, R.E., Pronske, K.L. and Viteri, F., 2005, January. Optimization of thermodynamically efficient nominal 40 MW zero emission pilot and demonstration power plant in Norway. In Turbo Expo: Power for Land, Sea, and Air (Vol. 47284, pp. 271–278).

[18] Anderson, R.E., MacAdam, S., Viteri, F., Davies, D.O., Downs, J.P. and Paliszewski, A., 2008, January. Adapting gas turbines to zero emission oxy-fuel power plants. In Turbo Expo: Power for Land, Sea, and Air (Vol. 43123, pp. 781–791).

[19] Chiesa, P. and Lozza, G., 1999. CO2 emission abatement in IGCC power plants by semiclosed cycles: Part A–with oxygen-blown combustion.

[20] Lozza, G., Chiesa, P., Romano, M. and Valenti, G., 2009. CO2 capture from natural gas combined cycles. In 1st International Conference on Sustainable Fossil Fuels for Future Energy. Rome.

[21] Riethmann, T., Sander, F. and Span, R., 2009. Modelling of a supercharged semi-closed oxyfuel combined cycle with CO2 capture and analysis of the part-load behavior. Energy Procedia, 1(1), pp. 415–422.

[22] Iantovski, E. and Mathieu, P., 1997. Highly efficient zero emission CO2-based power plant. Energy conversion and management, 38, pp. S141–S146.

[23] Mathieu, P., 2003. Mitigation of CO2 emissions using low and near zero CO2 emission power plants. International Journal of Energy for a Clean Environment, 4(1).

[24] Zhao, Y., Chi, J., Zhang, S. and Xiao, Y., 2017. Thermodynamic study of an improved MATIANT cycle with stream split and recompression. Applied Thermal Engineering, 125, pp. 452–469.

[25] Saeidi, S., Mahmoudi, S.M.S., Nami, H. and Yari, M., 2016. Energy and exergy analyses of a novel near zero emission plant: combination of MATIANT cycle with gasification unit. Applied Thermal Engineering, 108, pp. 893–904.

[26] Allam, R.J., Palmer, M.R., Brown Jr, G.W., Fetvedt, J., Freed, D., Nomoto, H., Itoh, M., Okita, N. and Jones Jr, C., 2013. High efficiency and low cost of electricity generation from fossil fuels while eliminating atmospheric emissions, including carbon dioxide. Energy Procedia, 37, pp. 1135–1149.

[27] Allam, R.J. and Forrest, B.A., Rivers Capital LLC, 2019. Systems and methods for power production using nested CO2 cycles. U.S. Patent 10,422,252.

[28] Allam, R.J., Fetvedt, J.E., Forrest, B.A. and Freed, D.A., 2014, June. The oxy-fuel, supercritical CO2 Allam Cycle: New cycle developments to produce even lower-cost electricity from fossil fuels without atmospheric emissions. In Turbo Expo: Power for Land, Sea, and Air (Vol. 45660, p. V03BT36A016). American Society of Mechanical Engineers.

[29] Allam, R.J., Palmer, M.R., Brown Jr, G.W., Fetvedt, J., Freed, D., Nomoto, H., Itoh, M., Okita, N. and Jones Jr, C., 2013. High efficiency and low cost of electricity generation from fossil fuels while eliminating atmospheric emissions, including carbon dioxide. Energy Procedia, 37, pp. 1135–1149.

[30] Ferrari, N., Mancuso, L., Davison, J., Chiesa, P., Martelli, E. and Romano, M.C., 2017. Oxy-turbine for Power Plant with CO2 capture. Energy Procedia, 114, pp. 471–480.

[31] Scaccabarozzi, R., Gatti, M. and Martelli, E., 2016. Thermodynamic analysis and numerical optimization of the NET Power oxy-combustion cycle. Applied Energy, 178, pp. 505–526.

[32] Zhu, Z., Chen, Y., Wu, J., Zhang, S. and Zheng, S., 2019. A modified Allam cycle without compressors realizing efficient power generation with peak load shifting and CO2 capture. Energy, 174, pp. 478–487.

[33] https://netpower.com/technology/

[34] Xiang, Y., Cai, L., Guan, Y., Liu, W., Han, Y. and Liang, Y., 2018. Study on the configuration of bottom cycle in natural gas combined cycle power plants integrated with oxy-fuel combustion. Applied energy, 212, pp. 465–477.

[35] https://www.iea.org/fuels-and-technologies/coal

[36] Hong, J., Chaudhry, G., Brisson, J.G., Field, R., Gazzino, M. and Ghoniem, A.F., 2009. Analysis of oxy-fuel combustion power cycle utilizing a pressurized coal combustor. Energy, 34(9), pp. 1332–1340.

[37] Lu, X., Forrest, B., Martin, S., Fetvedt, J., McGroddy, M. and Freed, D., 2016, June. Integration and optimization of coal gasification systems with a near-zero emissions supercritical carbon dioxide power cycle. In Turbo Expo: Power for Land, Sea, and Air (Vol. 49873, p. V009T36A019). American Society of Mechanical Engineers.

[38] Mecheri, M. and Le Moullec, Y., 2016. Supercritical CO2 Brayton cycles for coal-fired power plants. Energy, 103, pp. 758–771.

[39] Weiland, N.T. and White, C.W., 2018. Techno-economic analysis of an integrated gasification direct-fired supercritical CO2 power cycle. Fuel, 212, pp. 613–625.

[40] Zhao, Y., Wang, B., Chi, J. and Xiao, Y., 2018. Parametric study of a direct-fired supercritical carbon dioxide power cycle coupled to coal gasification process. Energy conversion and management, 156, pp. 733–745.

[41] Zhao, Y., Yu, B., Wang, B., Zhang, S. and Xiao, Y., 2018. Heat integration and optimization of direct-fired supercritical CO2 power cycle coupled to coal gasification process. Applied Thermal Engineering, 130, pp. 1022–1032.

[42] Zhu, Z., Chen, Y., Wu, J., Zheng, S. and Zhao, W., 2019. Performance study on s-CO2 power cycle with oxygen fired fuel of s-water gasification of coal. Energy Conversion and Management, 199, p. 112058.

[43] Xu, C., Xin, T., Li, X., Li, S., Sun, Y., Liu, W. and Yang, Y., 2019. A thermodynamic analysis of a solar hybrid coal-based direct-fired supercritical carbon dioxide power cycle. Energy conversion and management, 196, pp. 77–91.

[44] Seddighi, S., Clough, P.T., Anthony, E.J., Hughes, R.W. and Lu, P., 2018. Scale-up challenges and opportunities for carbon capture by oxy-fuel circulating fluidized beds. Applied Energy, 232, pp. 527–542.

[45] Yang, H.J., Kang, D.W., Ahn, J.H. and Kim, T.S., 2012. Evaluation of design performance of the semi-closed oxy-fuel combustion combined cycle. Journal of Engineering for Gas Turbines and Power, 134(11).

[46] Ferrari, N., Mancuso, L., Davison, J., Chiesa, P., Martelli, E. and Romano, M.C., 2017. Oxy-turbine for Power Plant with CO2 capture. Energy Procedia, 114, pp. 471–480.

[47] Wimmer, K. and Sanz, W., 2020. Optimization and comparison of the two promising oxy-combustion cycles NET Power cycle and Graz Cycle. International Journal of Greenhouse Gas Control, 99, p. 103055.

[48] Darde, A., Prabhakar, R., Tranier, J.P. and Perrin, N., 2009. Air separation and flue gas compression and purification units for oxy-coal combustion systems. Energy Procedia, 1(1), pp. 527–534.

[49] Sammak, M., Thern, M. and Genrup, M., 2013, June. Influence of working fluid on gas turbine cooling modeling. In Turbo Expo: Power for Land, Sea, and Air (Vol. 55133, p. V002T07A025). American Society of Mechanical Engineers.

[50] Zheng, L., 2011. Overview of oxy-fuel combustion technology for carbon dioxide (CO2) capture. In Oxy-Fuel Combustion for Power Generation and Carbon Dioxide (CO2) Capture (pp. 1–13). Woodhead Publishing.

[51] http://www.cleanenergysystems.com/technology

[52] Kumar Shukla, A., Ahmad, Z., Sharma, M., Dwivedi, G., Nath Verma, T., Jain, S., …& Zare, A. (2020). Advances of carbon capture and storage in coal-based power generating units in an Indian context. Energies, 13(16), 4124.

[53] Khandelwal, N., Sharma, M., Singh, O., & Shukla, A. K. (2020). Recent developments in integrated solar combined cycle power plants. Journal of Thermal Science, 29(2), 298–322.

[54] Lazarou, S., Christodoulou, C. and Vita, V., 2019, September. Global Change Assessment Model (GCAM) considerations of the primary sources energy mix for an energetic scenario that could meet Paris agreement. In 2019 54th International Universities Power Engineering Conference (UPEC) (pp. 1–5). IEEE.

[55] Vita, V. and Lazarou, S., Investigating the European energetic situation under a potential scenario that marginally meets Green Deal requirements.

[56] Sajwan, K., Sharma, M. and Shukla, A.K., 2020. Performance Evaluation of Two Medium-Grade Power Generation Systems with CO2 Based Transcritical Rankine Cycle (CTRC). Distributed Generation & Alternative Energy Journal, pp. 111–138.

[57] Khandelwal, N., Sharma, M., Singh, O. and Shukla, A.K., 2021. Comparative analysis of the linear Fresnel reflector assisted solar cycle based on heat transfer fluids. Materials Today: Proceedings, 38, pp. 74–79.

Biographies

images

Anand Pavithran received B. Tech degree in mechanical engineering from Kannur University, Kerala, India in 2018 and he is currently pursuing M.Tech degree in Thermal and Fluid Science from Amity university, Noida, Uttar Pradesh, India. His, research interest include emission free power generation and application of phase change materials in heating and cooling systems.

images

Meeta Sharma is working as an Associate Professor in the Mechanical Engineering Department, Amity University, Noida. She is Ph.D from Dr. A.P.J Abdul Kalam Technical University, Lucknow, India. Her area of interest are combined cycle power plants, cogeneration plants, waste heat recovery systems, solar energy, Heat Transfer and Applied Thermodynamics etc. She is also a member of professional body like Institution of Engineers, ISHMT etc.

images

Anoop Kumar Shukla is currently an assistant professor in the Department of Mechanical Engineering Amity University Noida India. He received his master and doctoral degree from Harcourt Butler Technological Institute Kanpur. His research interest concern energy conversion and thermal management, hybrid power cycles, Biofuels, gas turbine cooling, and advanced thermodynamics.

Abstract

Nomenclature

1 Introduction

images

images

2 Components of Oxy-fuel Power Cycle

2.1 Air Separating Unit

2.2 Oxy-fuel Combustor

2.3 The Power Generation System

2.4 CO2 and Water Separator

2.5 CO2 Capturing and STORAGE System

3 Classification of Oxy Fuel Combustion Power Cycle

3.1 Water-rich Mixture as Working Fluid

Graz cycle

images

CES cycle

images

3.2 Carbon Dioxide-rich Mixture as Working Fluid

MATIANT cycle

images

Allam cycle

Semi closed oxy-combustion combined cycle (SCOC-CC)

images

Coal as the Source of Energy

4 Comparison Studies on Oxy-fuel Power Cycles

5 Major Challenges in Oxy-fuel Combustion Power Cycles

ASU energy consumption

Turbine design

Costs required for the oxy-fuel power plant

6 Observations and Discussion

images

7 Conclusion

References

Biographies