Thermal Energy Feedback Regulation of Human Life System Based on Photon Radiation

Qinghong Jin1,* and Zhan Liu2

1College of Physical Education, Anhui Polytechnic University, Wuhu 241000, China
2Department of Physical Education and Health Education, Springfield College, Springfield 01109-3739, USA
E-mail: qinghongjin837294@163.com; zliu@springfield.edu
*Corresponding Author

Received 27 November 2021; Accepted 29 December 2021; Publication 23 March 2022

Abstract

To solve the problem of the long execution time of the traditional thermal energy feedback regulation mechanism of human life system, a method of analyzing the thermal energy feedback regulation mechanism of human life system based on photonic radiation was proposed. The energy response entropy of human living system is calculated by analyzing the change of human living system’s thermal energy. The photonic counter is designed by using photonic radiation technology to extract the weak optical signal of thermal energy of the system and output energy accumulation. The quadratic programming algorithm is used to solve the optimal solution of thermal energy, and the neural network model is combined with the energy accumulation of photon counter to realize the thermal feedback regulation. So far, the design of energy feedback regulation mechanism of human living system has been completed. The experimental results show that compared with the traditional feedback control mechanism, the designed energy feedback control mechanism based on photonic radiation has a shorter implementation time and is suitable for practical engineering.

Keywords: Photon radiation, human life system, energy feedback, regulation mechanism.

List of Symbols and Abbreviations

Symbol Full Abbreviation Name
Vh Maximum Speed in Level Flight with Maximum Continuous Power
SQP Successive Quadratic Programming
LM Levenberg-Marquardt

1 Introduction

Cells, individuals, populations, communities and ecosystems are all different levels of life systems. Because the life system belongs to the open system, it is constantly carrying on the material exchange, energy conversion and information transmission between them and the external environment, which determines that the life system is in the process of dynamic change at all times [1]. The dynamic changes of life system are all in a certain range, otherwise it will disintegrate and lead to the collapse of the system. Whenever a reverse reaction take place, a dynamic equilibrium arises in chemical reactions. There is also no measurable difference since materials migrate at the same frequency among chemical reaction. The pace at which combustion products are generated is such that none of their concentrations increases. In other words, steady state is a necessary condition for the existence of life system. The realization of steady-state cannot be separated from the interaction among the components in the system, that is, the self-regulation of the system, which mainly relies on feedback [2]. The so-called feedback, in short, is the effect of a system’s own work, which in turn acts on the system as information to guide the work of the system. Networks theory is an alternative examination of how systems interact with each other in the context of a bigger, more sophisticated structure. It describes and propose ideas about traits that emerge in dynamic structures but do not appear to occur in any one component inside the totality. System theory emphasizes to promote the coordinated development of all elements of the system so as to make the whole system develop effectively [3].

Feedback refers to the process of sending part or all of the output signals of a system back to the input end of the system in a certain way and path as the input signal. According to the polarity of feedback signal, it can be divided into positive feedback and negative feedback. Positive feedback occurs when the information response from the outputs is in process with the signaling reflection as from source. Negative feedback occurs when the transmission response has the different polarities or is 180 degrees out of phase with regard towards the carrier frequency. Positive feedback regulation means that if the polarity of the feedback signal and the input signal is the same or the change direction is the same (in phase), the result of mixing the two signals will make the net input signal greater than the output signal. Positive feedback regulation is a process in which the target difference is constantly expanding. If the polarity of the feedback signal and the input signal is opposite or the direction of change is opposite, the superimposed result will weaken the input signal, which is called negative feedback [6]. The essence of negative feedback regulation is to design a process in which the target difference is constantly reduced. By comparing the control consequence with the target, the target difference is gradually reduced in one control at a time, and finally the control purpose is achieved. Negative feedback describes the adjustment of the reduction of the target difference, while positive feedback describes the process of the increasing target difference. From the deviation of the control target, they are just the opposite. At the same time, cybernetics points out that positive feedback and negative feedback can transform each other [7].

Literature [4] proposed that from the feedback balance regulation of interleukin receptor related kinase and the anti-sepsis mechanism of heat clearing and detoxification traditional Chinese medicine, innate immune TLR signal is the first line of defense against pathogens, but excessive activation out of control leads to sepsis. The rising frequency as well as increased mortality of sepsis necessitate creative methods to anti-sepsis medication production. The efficacy of new anti-sepsis medications is precise and reliable evaluation of the patient’s state in infection. For the use of prospective invulnerable anti-sepsis medications, precise diagnoses of the individuals’ immunological state are necessary. It is particularly important to find the molecular targets and effective drugs to balance the balance. Interleukinases-1 receptor associated kinases (iraks) are the key molecules of TLR signaling. The cytokine receptors interleukin-1 receptor (IL-1R) absorbs interleukin 1. There are two types of receptors. Type I receptors are principally necessary to convey interleukin-1 (IL-1inflammatory)’s consequences, but type II receptors can decrease IL-1 function through contending for IL-1 attachment. They connect receptors with downstream transcription factors, determine the signal flow of innate immunity, and affect the outcome. Studies have found that these signal activators can produce polymorphic expression, produce positive and negative molecular isomers, and balance the body’s defense and inflammation, regulating the balance of positive and negative Irak kinases will become a new target for prevention and control of sepsis. Heat clearing and detoxifying traditional Chinese medicine has immunomodulatory and anti-inflammatory activities. Modern medicine uses molecular biology, pathology and Immunology methods to confirm the endogenous mechanism of balancing natural immunity from regulating Irak kinase signals, and clarify the material basis and molecular mechanism of heat clearing and detoxifying traditional Chinese medicine, which provides a new idea for the modernization of traditional Chinese medicine. In reference [4], the identification, control and stability analysis of discrete Hammerstein structures composed of static nonlinear gain and linear dynamic subsystems are studied. The parameters are identified by multivariable output error state space algorithm. The stabilization of such systems is generally guided by a nonlinear control law, including the exact inverse of static nonlinearity. Then, the linear state feedback controller is used to make the Hammerstein system closed-loop stable and track the reference input. A stable single-valued quadratic component precedes a regular high level of flexibility in the Hammerstein framework. An equivalent linear component sits among two nonlinear dynamic frames in the Hammerstein-Wiener paradigm. Therefore, the performance of this method is limited when the static nonlinearity is approximately reversible. In this case, the approximate inverse of this component is studied. Based on Lyapunov method, the stability conditions of the system are obtained by solving a set of linear matrix inequality constraints. The effectiveness of the method is illustrated by an example of a double tank coupling system.

To solve the problem of the long execution time of the traditional thermal energy feedback regulation mechanism of human life system, a method of analyzing the thermal energy feedback regulation mechanism of human life system based on photonic radiation was proposed. The energy response entropy of human living system is calculated by analyzing the change of human living system’s thermal energy. The photonic counter is designed by using photonic radiation technology to extract the weak optical signal of thermal energy of the system and output energy accumulation. The quadratic programming algorithm is used to solve the optimal solution of thermal energy, and the neural network model is combined with the energy accumulation of photon counter to realize the thermal feedback regulation. So far, the design of energy feedback regulation mechanism of human living system has been completed. The experimental results show that compared with the traditional feedback control mechanism, the designed energy feedback control mechanism based on photonic radiation has a shorter implementation time and is suitable for practical engineering.

2 Design of the Thermal Energy Feedback Regulation Mechanism of Human Life System Based on Photon Radiation

2.1 Calculation of Entropy of Thermal Energy Change in the System

As we all know, a fundamental difference between living things and all inorganic things is that they are highly ordered. This characteristic shows that it is more appropriate to use the thermodynamic quantity of “Entropy” to describe the living body. Exergy is a thermodynamic statistic that may be used to compare the potential of heat fluxes, molecules, and hydrocarbons. A variable whose significance is solely determined by the structure of the network. The statistic used to measure temperature variations. It comes in two varieties: intense and extensive. Because the living body needs to continuously absorb material, energy and information from the environment, the bioentropy of the living body is closely related to them [8].

We know that the necessary condition for all living things to survive, develop and change is to continuously absorb the light, water and air from the outside world and consume the food provided by the environment [9]. All of these processes come down to the fact that living things need to constantly receive material, energy and information from the environment. And the whole life process is always through the change, coordination and unity of the three. From the perspective of Biophysics, the so-called life activity is nothing more than the expression of the comprehensive movement and coordinated change of the three quantities. And their organized and orderly changes are the basis of all life. Among them, the roles of light and life are a central problem of material and energy transformation and information processing and transmission [10]. According to the relevant research, more than 90% of the external information received by the organism through its own visual organs and appearance and other sensory organs is derived from this role. The energy-carrying component across all living organisms is ATP (adenosine triphosphate). ATP analysis is used to evaluate the size and activity of a bacterial community. A luminometer is used to quantify the quantity of light produced, which is proportional to the quantity of ATP in the specimen. The production of photosynthesis and ATP analysis is shown below:

6CO2+6H2O+hC6H12O6+6O2

The function shown above is one of many forms of action. In this process, the living body not only absorbs information, but also exchanges energy. This will lead to changes in the internal structure and movement state of life, affect the changes of life itself, and produce a series of physiological phenomena. Therefore, the absorption of matter and energy, the processing and transfer of information are the main and basic physiological processes for life [11].

The whole-body surface and various organs can be regarded as the boundary of this life system. The external energy, material and information enter the human body through it, and act on the living units and small molecules in the body, so that they form or maintain their non-equilibrium state with the characteristics of dissipative structure. So, the absorbed energy, material and information can be regarded as a kind of “constraint” that is added to the organism through the boundary. Now let these “constraints” be {Q}, i is to express the number of types of constraints, i=1,2,3,,n, and its functional relationship is as follows:

Q({ai},{bi},{ci},{at},{bt},{ct})=0 (1)

In the above functional relationship, ai is the number of localized sub regions with energy of ci, bi is the number of localized sub regions, bi=dbidt, at is the number of photons with energy of ci, bt is the change rate of the number of photons, and bt=dbtdt. Where, ai and at are both time-dependent quantities, indicating that the characteristics and states of thermal energy change of living organisms change with time, and they are in an unbalanced state [12].

After being constrained by {Q}, when the living body interacts with the light, it will inevitably lead to the change of the distribution state of the localizer and the change of the entropy of the system [13]. A sort of subatomic particle is the photonic. It becomes the energy carriers for the electromagnetism or the component of the electrostatic energy, which includes ionizing energy like as luminous and radio frequency. The photonic is the fundamental element accountable for wave propagation in contemporary mechanics. It is responsible for all types of light and regulates electrostatic connections. The photons have no intrinsic weight but proceeds at the velocity of light in open area, which is continuous at c. The number of microscopic states of a closed large system composed of living system and photon system in an external environment can be expressed as follows:

Wt ={(ai),(bt)}W({ai}{bt})
={(ai),(bt)}Eiaiiβii(at+βt-1)bt(βt-1) (2)

Where E is the total number of localizers, βi is the degeneracy of ci level, and βt is the degeneracy of ct level. According to the theory of statistical physics, the optimal distribution of localizer and photon is determined by the following formula:

χ[(lnWt)+iδQ]=0 (3)

In the formula, δ represents the Langrange uncertainty coefficient [14]. The uncertainty coefficient, also known as the competence correlation, entropy correlation, or Theil’s U in statistical data, is a measurement of conceptual connection. It is applied to the data entropy notion. By using the formula of Strirling, we can get:

lnWt({ai},{bt}) ElnE-lnE+i[(ai-1)lnβiai+lnβi]
+t[(bt+βt-1)ln(bt+βt-1)-btlnbt
-(βt-1)ln(βt-1)+(bt-1)] (4)

If formula (4) and formula (1) are brought into formula (3), there are:

i(lnβiai-1+1ai)χai+tln(bt+βt-1bt)χbt
  +[i=1ndtiQai-ddt(Qai)]χai
  +[i=1naiiQci-ddt(Qci)]dQ
  +[i=1ndttQct-ddt(Qct)]ctbtχbt
  +[i=1naiiQbt-ddt(Qbt)]χbt=0 (5)

According to formula (5):

lnβiai-1+βi+tQai-ddt(Qai)+Qciciai =0 (6)
ln(bt+βt-1bt)+tQbt-ddt(Qbt)+Qctctbt =0 (7)

According to Formula (1): Qci=0,Qct=0.

The entropy of energy response of human life system can be approximately expressed as:

JlnW({ai},{bt}) t[(bt+βt-1)ln(bt+βt-1)-btlnbt
-(βt-1)ln(βt-1)+ln(βt-1)]
+{lnE-lnE+i(ai-1)ln(βiai)+(lnβi)} (8)

Where {ai} is the optimal distribution of the localizer under the constraint {Q}.

In this paper, the entropy change of the thermal energy of the system caused by the transition from the x-th level to the y-th level after the absorption of photons by the human life system is studied.

ΔJ=JaxΔax+JayΔay+JbtΔbt (9)

It can be seen that the entropy of the system will increase when particles (whether localizer or photon) are added to the non-equilibrium life system. Non-equilibrium thermodynamics is a subdivision of basic physics that studies quantum processes which aren’t in equilibrium conditions but could be characterized using factors (non-equilibrium state possible factors) which are an extension of the parameters enough to stipulate the scheme in equilibrium position. In addition, every radiative transition or absorption transition of a localizer can change the entropy of the system [15]. Under certain conditions, the system is in a non-equilibrium steady state when the n-localizers in the x-level absorb the photons and all transition to the y-level. Where

Δax=-a,Δay=a,Δbt=-b (10)

According to formula (9), the entropy of thermal energy of human life system becomes:

ΔJ=-a[ln(ayβxaxβy)(bt+βt-1bt)+ay-axaxay] (11)

In formula (11), because bt+βt-1bt>1, when ay>ax and ayβy>axβx, the entropy change ΔJ of the above formula is negative. This condition indicates that the number of localizers on the high energy level is more than that on the low energy level, that is, the number of particles has an inverse distribution [16]. That is to say, when the living body absorbs the energy, material and information transmitted to it by the external environment, it is not used to increase the “internal energy” and entropy of small molecules’ thermal movement in the system, but to make the system’s localizer jump from the low energy level to the high energy level, resulting in the inversion distribution of the number of particles in the high energy level more than that in the low energy level, so as to reduce the bioentropy of the living body and thus the living body’s negative entropy value appears and the low entropy state appears in life [17]. Obviously, this state is that the living body absorbs the external energy, material and information. If the latter absorbs more energy and information, the negative entropy value of life body will be greater, and the self-organization of biology will be more orderly. In order to see this clearly, formula (6) and formula (7) are substituted into formula (11) to obtain:

ΔJ =-ai=1E[ay-ax+bt-ddtay-ddtax-ddtbt
+cy(cyay-cxcxay+cxctbt)G] (12)

The above formula shows that the decrease of biological entropy, the negative entropy value and the resulting biological tissue are completely controlled by the amount of energy, material and information absorbed by living organisms in the environment. This is the reason why we call them “constraints”. This is the reason why living organisms regulate and ensure their own stability through the mechanism of thermal energy feedback. Based on the calculated entropy, the feedback regulation of thermal energy is realized.

Table 1 Simulated sample data set

Number λ1 λ2 λ3 λ4 λ5
1 0.02 0.02 0.01 0.60 0.71
2 0.02 0.02 0.01 0.60 0.69
3 0.02 0.02 0.01 0.55 0.74
4 0.02 0.02 0.01 0.55 0.56
5 0.02 0.02 0.01 0.55 0.59
501 0.03 0.06 0.07 0.65 0.104
502 0.03 0.06 0.07 0.55 0.107
503 0.04 0.07 0.09 0.50 0.163
504 0.04 0.07 0.09 0.60 0.147
505 0.04 0.07 0.09 0.70 0.109
1111 0.06 0.07 0.08 0.65 0.211
1112 0.06 0.09 0.08 0.65 0.209
1113 0.07 0.09 0.05 0.60 0.139
1114 0.07 0.09 0.05 0.55 0.146
1115 0.07 0.07 0.05 0.50 0.185
1621 0.09 0.07 0.05 0.45 0.307
1622 0.09 0.07 0.05 0.45 0.331
1623 0.07 0.06 0.03 0.55 0.326
1624 0.07 0.05 0.02 0.60 0.339
1625 0.05 0.05 0.02 0.60 0.305

2.2 Design of Photon Counter

The phenomenon of ultra-low light radiation in human life system provides important information of metabolism and energy conversion of living organism. The corresponding photon counter is designed. According to the characteristic that the output current signal of photomultiplier tube is naturally discrete under weak light of photon counter, the weak light signal displayed by the change of thermal energy in the system is extracted and output by using high discrimination and digital technology, and the change of thermal energy and the effect of feedback regulation are controlled in real time according to the change of photon [18].

Photomultiplier tube is an electric vacuum device, which uses photoelectric effect to multiply photons generated by thermal energy. Particles impacting a photodiode at the entry aperture of a PMT create protons, that are subsequently transported either by high-voltage environment as well as increased in quantity inside a network of semiconducting material by the mechanism of secondary production, that is induced by the photovoltaic effect. The schematic diagram of its working principle is shown in Figure 1.

images

Figure 1 Photon technology block diagram.

images

Figure 2 Schematic diagram of the photomultiplier tube.

The schematic diagram of photomultiplier operation is shown in Figure 2.

When the photomultiplier tube works, the potential of the electrode increases gradually from the cathode to the anode. Under the weak radiation light, the photoelectrons emitted from the cathode are accelerated and focused on the first multiplier through the electron optical input system, and the doubled secondary electrons are emitted from the first multiplier. These secondary electrons are accelerated and converged to the second multiplier at a higher potential to obtain a new multiplier, thus the electron is multiplied step by step on the second, third and fourth multipliers and so on. A current pulse is formed in the anode circuit after the photoelectron is multiplied by the multiplier system, and a voltage pulse is generated through the load resistance. This pulse is called a single photon pulse. In addition, there are also noise pulses in the anode circuit, which are formed by the thermally reflected electrons of each multiplier, but the amplitude is relatively low.

The function of the amplifier is to linearly amplify the photoelectron pulse and noise pulse, and send the amplified pulse signal to the pulse amplitude discriminator.

images

Figure 3 Schematic of amplifier and discriminator operation.

A continuously adjustable reference voltage Vh is provided in the pulse discriminator. As shown in Figure 3, when the input pulse height is lower than Vh, the discriminator has no output. Only the pulse higher than Vh, the discriminator outputs a standard pulse. If the level of the discriminator is selected at the pulse height corresponding to the valley point in Figure 3, most of the noise pulses can be removed and only optoelectronic pulses can pass through, thus improving the signal-to-noise ratio. The discriminator outputs shaped pulses.

The function of the counter is to accumulate and count the output pulse of the discriminator within the specified measurement interval. According to the above analysis, GSZF-2B photon counter is used to install TLGDB series photoelectric cooler. The temperature of cooler is set to -20C to reduce the noise of photomultiplier. The main indexes of photon counting are as follows:

Spectrum collection range: 360–650 nm

Integration time: 0–*30 min (1 ms/gear, adjustable)

Maximum count: 107

Field value voltage: 0–2.56 V (10 mV/gear, adjustable)

Dark count: 30 CPS/S (-20C)

Temperature control range: room temperature – 25C

The designed photon counter is used to observe the change of thermal energy of human life system. Combined with the calculated energy entropy, the thermal energy feedback regulation is realized.

2.3 Determination of the Optimal Thermal Energy Feedback Regulation

2.3.1 Finding the optimal solution of entropy value of thermal energy

The calculation of thermal energy of human life system is a linear constrained optimization problem. The optimal solution of entropy is obtained by quadratic programming.

Sequential quadratic programming (SQP) is a restricted mathematical optimization approach that is continuous. Its techniques are utilized to solve differential equations with a doubly complex variable optimization problem as well as restrictions. SQP approaches tackle a series of evaluation fragments, each of which optimizes a prediction equation of the goal under the restrictions of linear system. If the issue isn’t limited, the procedure simplifies to Newton’s method for locating a place in which the objective’s curvature disappears. The sequential quadratic programming (SQP) algorithm is used to do the quadratic programming for the entropy of thermal energy change of human life system. It is one of the most effective algorithms to solve the constrained optimization problem. Newton method is used to solve unconstrained optimization problems. In each iteration, a subproblem of quadratic programming is constructed. The solution of the subproblem is used as the search direction of iteration, so as to approach the solution of constrained optimization problem. The technique of Lagrange is an approach to determine the localized maxima and minima of a subject that needs to equivalence requirements in learning algorithms (according to the requirement that the selected parameters satisfy any or more solutions precisely). The convergence of the subproblem is guaranteed by Hessian matrix composed of Lagrange function obtained by quasi-Newton method. Whenever complete Newton’s Techniques are too complicated otherwise inconvenient in Non-Linear Computing, Quasi-Newton Methods (QNMs) are employed. These approaches are primarily utilized obtain the minimum error of a twice-differentiable complex number). For vast as well as sophisticated non-linear situations, Quasi-Newton Approaches have unique benefits across the complete Newton’s Method. ΔJ is defined as a convex function. The procedure often gets destroyed in subspace for flattened variables (smoother curves with deviations that disappear at a precise moment). The LM can be sluggish to convergence in certain instances. This is especially the case if the models seem to have more than 10 variables and the program must travel rapidly in a restricted crawling area. For the optimal solution of quadratic programming with the original thermal energy, the necessary and sufficient conditions are as follows:

{ΔJ(ξ)+νf=0νfT(ξ)=0ν0 (13)

In the formula, ν is the Lagrange multiplier, f is the gradient vector group, f=[f1,f2,,fn]T. When the above conditions are met, the quadratic programming is completed, and ξ is the optimal solution of the quadratic programming for the entropy change of human life system.

2.3.2 Design of feedback regulator

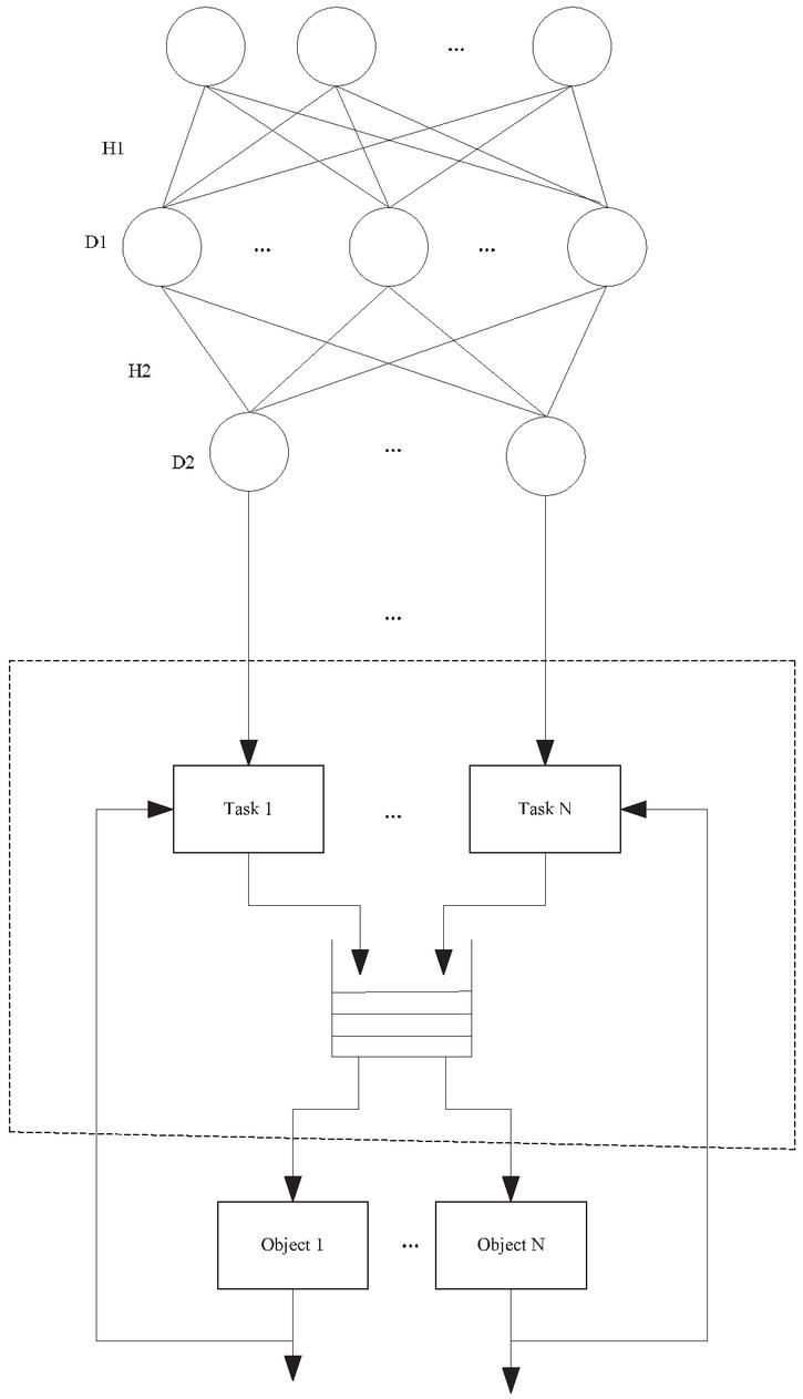
A feedforward neural network is a type of machine learning in which hubs’ interconnections need not create a loop. As a result, it differs out of its offspring, recurrent neural networks. It was the first and most basic artificial intelligence system to be created. Based on the feedback regulation principle of neural network, three-layer feedforward network is used to design the feedback regulator to realize the thermal energy feedback regulation and complete the design of the thermal energy feedback regulation mechanism of human life system. The data in this system flows exclusively with one manner: forward, according to input data towards the destination node, passing via any hidden neurons (any). In the system, there seem to be no repeats else looping. The frame model of the feedback regulator designed by the selected neural network is shown in the figure below.

images

Figure 4 Frame structure of the feedback regulator.

As shown in Figure 4, the network contains only one hidden (including) layer except input layer and output layer. Feedforward network with single hidden layer can map any continuous function (in closed interval) with any accuracy. From the perspective of guaranteed performance, an implicit layer is enough for feedback scheduling. It can be seen from Figure 4 that in the case of determining the optimal solution of thermal energy value of human life system, the size of thermal energy feedback frequency and the execution time of each feedback task are controlled. Therefore, the neural network feedback scheduler has n+1 inputs. Because the function of feedback scheduler is to adjust the feedback frequency of each feedback route, the output of neural network is v1,v2,,vn. From the point of view of real-time scheduling theory, the input and output of neural network are closely related to the change of thermal energy, and its task is to realize the dynamic distribution of thermal energy. From the point of view of control feedback regulation, thermal energy is an important design parameter of feedback regulator, and neural network feedback scheduler realizes a mapping relationship from real-time scheduling to real-time control (controller parameters).

According to the neural network structure in the figure, the relationship between the output and input of the feedback regulator is as follows:

Lout=H2(ψ(H1l+D1))+D2 (14)

In the formula, H1 and H2 represent weight matrix, D1 and D2 represent threshold weight, l represent input vector and Lout represent output vector. ψ is the excitation function of hidden layer ψ(x)=11+e-x.

The Levenberg-Marquardt algorithm (LMA) is a well-known trust region approach for finding the local minimum (whether regular or quadratic) across a number of criteria. The Levenberg-Marquardt technique, like several other analytical models, is susceptible towards the effective starting variables. In the process of network training, Levenberg-Marquardt (LM) algorithm is used to improve the performance of neural network, and improve the convergence speed of network training. After training, based on the entropy change of thermal energy in human life system after secondary planning, the related calculation of feedback scheduling is carried out. In order to facilitate the analysis, formula (14) is divided into three calculation formulas:

{a=H1l+D1b=ψ(a)c=H2(b)+D2 (15)

In the formula, a, b and c are temporary variables, which are assigned to H1, H2, D1 and D2, and the following results are obtained:

H1=[h11h1,n+1hm,1hm.n+1],H1=[h11h1,mhn,1hn,m],
D1=[d11,d12,,d1m]T,D2=[d21,d22,,d2n]T.

At the same time, the optimal solution ξ and energy output accumulation of thermal energy of human life system are introduced

[L1Lm-1Lm]=[h11h1,nh1,n+1hm-1,nhm-1,n+1hm1hm,nhm,n+1][ξ1ξm-1ξm]+D1*D2*gfv (16)

Where gfv in the formula represents the accumulation of energy output obtained by the photon counter. The above is the calculation that the feedback regulator needs to complete each time. Through the above calculation, the thermal energy feedback regulation in the human life system is completed.

images

Figure 5 Design process of feedback regulator.

According to the above, the design process of feedback regulator is determined as follows:

As shown in Figure 5, the design flow of the neural feedback scheduler is roughly as follows: firstly, the entropy value of the thermal energy change of the human life system calculated is twice planned, and the necessary and sufficient conditions are determined. At the execution time of each task, a certain amount of threshold value and weight combination are selected, and the optimal feedback scheduling problem is solved for the data combination determined by each group, so as to generate enough data sample set; according to the system scale (number of control loops), the appropriate number of hidden layer nodes in neural network is determined, and the neural network is initialized; then the neural network with the obtained data sample set is trained and tested. After the test is qualified, the neural network can be used as the feedback scheduler to calculate the final output of feedback regulation, complete the design of thermal energy feedback regulation mechanism, and realize online application.

3 Experimental Study

3.1 Data Preparation

In order to verify the effectiveness of the analysis method of thermal energy feedback regulation mechanism of human life system based on photon radiation, the simulation was carried out on the MATLAB simulation platform. The sampling frequency of original data is 100 Hz, and that of GPS data is 2 Hz. In order to effectively detect the thermal energy feedback regulation mechanism of human life system, six measurement points were set up in different regulation mechanisms of human life system, and the methods in reference [4] and reference [5] were compared respectively. According to the above steps, the thermal energy feedback regulation of human life system is carried out. Based on the description of the above content, five sets of data sample sets are simulated by the third-party software to verify the performance of the designed energy feedback regulation mechanism of human life system.

3.2 Experimental Results and Analysis

Using the above data, in the same experimental environment, three kinds of thermal energy feedback regulation mechanisms of human life system are used to test the execution time of feedback scheduling. The feedback scheduler’s primary function is to continuously alter the programming characteristics of control systems in order to achieve the required bandwidth utilization or tight time failure percentage. A regulatory mechanism is a set of stages or procedures that an individual can use to assure the management of a bioactivity. Regulation is used to sustain and purpose of facilitating, companies, and the ecosystem, as well as to promote social prosperity. The traditional feedback scheduling mechanism based on SQP algorithm is used as experiment 1, the feedback scheduling mechanism based on open-loop scheduling is used as experiment 2, and the thermal energy feedback regulation mechanism based on photon radiation is designed as experiment 3.

images

Figure 6 Experimental results of different feedback regulation mechanisms.

The three experimental results are shown in Figure 6:

The comprehensive experimental results show that the implementation time of feedback mechanism in literature [4] and literature [5] varies greatly, and the overall time is relatively long. The feedback mechanism based on open-loop scheduling has a shorter execution time when the data is small, but with the increase of the data, its execution time range becomes larger and larger. With the increase of the data volume, the execution time of the designed feedback scheduler based on photonic radiation is always stable, and the required time is also very short. The comparison of the above three experimental results shows that the designed thermal feedback regulation mechanism of human life system based on photonic radiation is superior to the traditional thermal feedback regulation mechanism.

4 Conclusions

The design of the thermal energy feedback regulation mechanism of human life system based on photon radiation solves the problems in the traditional feedback regulation mechanism through the quotation of photon radiation, which has far-reaching significance for the research of thermal energy feedback regulation of human life system.

Acknowledgement

Anhui Provincial General Project of Philosophy and Social Sciences: Research of Sports Popularization Model of Anhui Province Based on College and University (No. AHSKY2018D57).

References

[1] Jahangiri P, Pournazari K and Torigian DA, et al. (2019) A prospective study of the feasibility of FDG-PET/CT imaging to quantify radiation-induced lung inflammation in locally advanced non-small cell lung cancer patients receiving proton or photon radiotherapy. European Journal of Nuclear Medicine and Molecular Imaging 46(1): 206–216.

[2] Devine CA, Liu KX and Myrsini II, et al. (2019) Brainstem injury in pediatric patients receiving posterior fossa photon radiation. International journal of radiation oncology, biology, physics 105(5): 1034–1042.

[3] Toker O, Caglar M Oz E et al. (2019) Radiation interaction parameters for blood samples of breast cancer patients: an MCNP study. Radiation and environmental biophysics 58(4): 531–537.

[4] Chen B, Wan JY. (2019) Study on Anti – Sepsis Role Traditional Chinese Medicines of Heat Clearing and Detoxicating by Targetting Balance Regualtion of Interleukin Receptor – Associatd Kinases. Chinese Archives of Traditional Chinese Medicine 37(03): 539–541.

[5] Rayouf Z, Ghorbel C and Braiek NB (2019) A new hammerstein model control strategy: feedback stabilization and stability analysis. International Journal of Dynamics and Control 7(4): 1453–1461.

[6] Tanoue Y, Fujino T and Hideki T, et al. (2019) Jarvik 2000 axial flow ventricular assist device in right single ventricle after Fontan operation. Journal of Artificial Organs 22(4): 338–340.

[7] Tarighat AP and Yargholi M (2019) Low power active shunt feedback CMOS low noise amplifier for wideband wireless systems. Integration 69: 189–197.

[8] Kim JC and Iremonger KJ (2019) Temporally tuned corticosteroid feedback regulation of the stress axis. Trends in Endocrinology & Metabolism 30(11): 783–792.

[9] Sasaki M (2017) Photon-fluence-weighted let for radiation fields subjected to epidemiological studies. Health physics 113(2): 143–148.

[10] Howe EE, Toth AJ and Bent LR (2018) Online visual cues can compensate for deficits in cutaneous feedback from the dorsal ankle joint for the trailing limb but not the leading limb during obstacle crossing. Experimental Brain Research 236(11): 2887–2898.

[11] Baseer N, Mahboob U and Degnan J (2018) Sharpening the feedback skills of doctoral supervisors. Medical Education 52(11): 1207–1208.

[12] Stanick CF, Halko HM, Dorsey CN, et al. (2018) Operationalizing the ’pragmatic’ measures construct using a stakeholder feedback and a multi-method approach. BMC Health Services Research 18(1): 882.

[13] Tripathy M, Joshi H and Panda SK (2017) Energy payback time and life-cycle cost analysis of building integrated photovoltaic thermal system influenced by adverse effect of shadow. Applied Energy 208: 376–389.

[14] Simone A, Efisio C, Jaume G, et al. (2018) Numerical analysis of a latent heat thermal energy storage system under partial load operating conditions. Renewable Energy 128: 350–361.

[15] Ismael G (2017) Gyrfalcons Falco rusticolus adjust CTNS expression to food abundance: a possible contribution to cysteine homeostasis. Oecologia 184(4): 779–785.

[16] Gombert P, Gueye A, Haïke HB, et al. (2019) Installation of a thermal energy storage site in an abandoned mine in Picardy (France). part 1: selection criteria and equipment of the experimental site. Environmental Earth Sciences 78(5): 1–16.

[17] Singh DK, Suresh S, Singh H, et al. (2017) Anantharaman. myo-inositol based nano-PCM for solar thermal energy storage. Applied Thermal Engineering 110: 564–572.

[18] Melissa C, Kilby PC, Molenaar M, Slobounov SM, et al. (2017) Real-time visual feedback of COM and COP motion properties differentially modifies postural control structures. Experimental Brain Research 235(1): 109–120.

Biographies

images

Qinghong Jin, male, was born in February, 1997. His title is associate professor. He graduated from Anhui Normal University in 2001, major in physical education, with a baccalaureate. He graduated from Nanjing Sport Institute in 2008, major in Theory of physical education and sports training, with a master’s degree.

Now he is working in College of Physical Education, Anhui Polytechnic University. He mainly engages in the research of Theory of physical education and sports training. So far, He has published 12 papers and participated in 2 projects.

images

Zhan Liu, male, was born in July, 1960. His title is Doctoral tutor. He graduated from Wuhan Sports University in 1986, major in physical education, with a baccalaureate. He graduated from Ball State University in 1990, major in for control and physical training direction, with a master’s degree. He graduated from Tennessee State University in 1993, major in Philosophy of control and learning direction, with a doctorate, He graduated from SPRINGFIELD COLLEGE in 2008, major in Sports Science, With a Postdoctoral degree.

Now he is working in Department of Physical Education and Health Education, Springfield College. He mainly engages in the research of Movement control and skill learning, sports psychology, sports measurement and evaluation methods. So far, He published 31 articles in international journals 1 SCI, 15 SSCI, 18 Scientific Research Abstracts 1 SCI and 14 SSCI), 2 monographs, 2 chapters of books involved in the preparation, 58 scientific research papers 25 international societies, 22 national academic conferences, 11 regional academic conferences.

Abstract

List of Symbols and Abbreviations

1 Introduction

2 Design of the Thermal Energy Feedback Regulation Mechanism of Human Life System Based on Photon Radiation

2.1 Calculation of Entropy of Thermal Energy Change in the System

2.2 Design of Photon Counter

images

images

images

2.3 Determination of the Optimal Thermal Energy Feedback Regulation

2.3.1 Finding the optimal solution of entropy value of thermal energy

2.3.2 Design of feedback regulator

images

images

3 Experimental Study

3.1 Data Preparation

3.2 Experimental Results and Analysis

images

4 Conclusions

Acknowledgement

References

Biographies